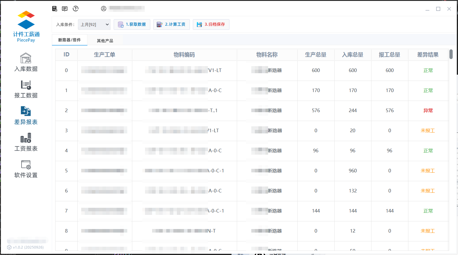
基于金蝶云星空ERP+国坤MES的计件工资系统 项目案例 发表于 8个月前 (09-27) 671次浏览 暂无评论 0927记录一下完成 基于金蝶云星空和国坤MES系统的计件工资系统。 对多工单工序,员工,进行工资结算 转载原创文章请注明,转载自: 派森开发者 » 基于金蝶云星空ERP+国坤MES的计件工资系统 相关文章 基于国坤MES生产系统的二次开发(log-20240822) ERP人事考勤系统/考勤统计系统 okx跟单系统 Okex合约高频交易精灵 达尔文星球云监工|碱基云监工|HGBC云监工 ERP 国坤MES 工资结算系统 计件工资 计件工资系统 金蝶ERP 金蝶云星空 0 0
发表评论